


技術要求
1、本機在制造廠組裝,按說明書要求進行空負荷試車,調整良好后方可出廠??紤]運輸方便允許在達到上述要求后,方可在中間聯接架處。分解拆開螺栓,分段裝箱運輸。
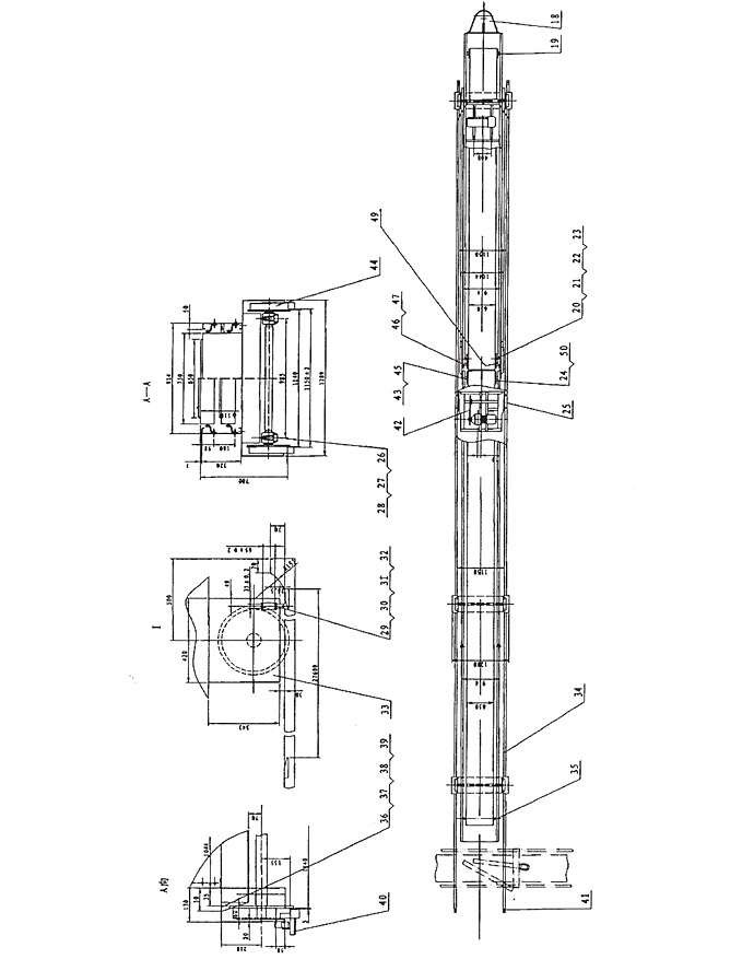
2、凡進入本機成品袋,要求外形平整,間距均勻清除浮質,并嚴格保證質量。
3、水平段膠帶層數Z: 4,上膠層+下膠=3. 0+1.0,變幅段膠帶應采用特種花紋膠帶。層數為4,上膠層+下膠層=3.0+1.0。
4、軌道鋼型號:P18,材質500,應符合GB906-86精度要求,軌道安裝應達到以下要求:軌道全行程高差不得大于10mm;兩條軌距偏差不得超過±5mm;縱向每段不平度不應超過軌距的1/1500;兩平行軌道相對標高差不應大于1Omm;軌道接頭間隙3-5mm,安裝后焊成整體。
5、車輪組組裝應達到如下要求:
保證各車輪與車軌面均勻接觸;同一車輪組車輪側面與軌道間陳不得大于2.5mm;同側車輪應在同一縱向平面上,其高差為2.5mm.
6、整機運行在全程應平穩無噪聲,在兩極限端部行程開關應靈敏可命。卷揚系統應保證在2.7m變幅內靈敏平穩,變幅段支架應靈敏無噪聲。
7、電氣動力及控制電纜由配電箱引入本機,詳見電氣部份及其說明書。
8、電動滾筒與驅動鏈輪的裝配按代號50(3004-16)處理。